Remote sensing of zooplankton

From Coastal Wiki
Revision as of 15:46, 28 May 2008 by Julika Doerffer (talk | contribs) (Methodology)
Jump to: navigation, search

Introduction

A global task in marine ecology is the determination of zooplankton distributions. Zooplankton is a basic element of food chains, and due to the enormous number of species and individuals it is one of the most important trophic resources in the oceans. Knowledge about the impact of physical parameters like temperature, salinity and oxygen on the community of zooplankton species is important, but limited. Physical gradients in the water may separate communities and thus cause heterogeneous vertical distribution patterns. Recent investigations have shown the importance of such patterns for trophodynamic relationships and the understanding of climate change scenarios (Schulz et al., 2007[1]). However, sampling performed with traditional gears, such as nets, is not capable of resolving fine-scale distributions along gradients. Unequal catch efficiencies of different net types and retention pressures due to various mesh sizes also bias results. Therefore, a new and promising concept for fast optical in-situ detection of zooplankton was developed that allows the investigation of fine scale distributions. Developments were carried out in a joint project between the Alfred Wegener Institute for Polar and Marine Research and the small and medium enterprise iSiTEC.

Methodology

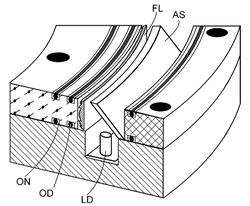
Figure 1 Schematic section of the circular illumination device. AS: Circular mirror, FL: Fresnel-lens, LD: LED, OD: Seal ring, ON: Seal ring notch. Pending patent application (Schulz 2007).

Since the 1950s several approaches tried to visualise zooplankton species in-situ (reviewed by Wiebe & Benfield, 2003[2]). The combination of digital imaging techniques combined with environmental sensors helps to achieve the goal of small-scale investigations over large ranges. However, in-situ imaging of zooplankton species presents investigators with some specific problems.

Imaging and light

With increasing magnification the amount of light from the area that has to be imaged decreases. Additionally, the distance in water between the camera and the imaged volume needs to be short, as floating particles detract image quality. High magnifications at short distances also result in a small depth-of-field (DOF). Only points in the object plane are correctly imaged on the chip area of the camera sensor. Thus, taxonomic features, important for the identification of species, can only be obtained within a narrow DOF at high magnifications. High f-values (small aperture opening) enlarge the DOF by mini- mising the circles of confusion, but reduce utilised light. Consequently, the development of illumination devices with a high light flux and precise targeting is a pivotal precondition for in-situ imaging of small planktonic species. The estimation of abundances requires to quantify the volume scanned per image frame. This requires the knowledge of width, height and depth of the observed volume. While the first two are physically presented by the size of the photosensitive sensor, the principal axis is infinite and needs to be constrained. As the DOF is narrow, illumination is only necessary within this range. To avoid casting shadows a circular device was designed to illuminate scenes from all sides simultaneously. With high efficiency LED’s and cylindrical Fresnel-lenses a homogeneous and constrained light field was obtained (Fig. 1). The system projects a light frame of high luminous flux into the water. The camera aims with an angle of 90° at this light frame (Fig. 2), whose depth is in the range of the DOF. Particles within this frame are illuminated, while those outside are nearly invisible. Thus, the required clipping along the principal axis is obtained for the depth axis. Image quality allows to determine major taxonomic groups and often species identification (Fig. 3). As the observed volume is rather small, species of low abundance more often remain undetected. Therefore, the developed system was named Light-frame On-sight Key-species Investigation (LOKI).

System specifications

The camera operates with a frequency of 15 frames per second and triggers the flash frequency of the illumination device. Shutter times can be adjusted down to 100 µs. In towed operation mode the movement replaces water and entrained objects between two frames. The camera is connected via GigE to a Dual Xeon® board that processes ~60 MB s-1 image data. Frames are pre-processed in real time in the underwater unit and only parts that contain objects of a certain size are stored as Area-Of-Interest (AOI). The computer unit communicates with several microcontroller subunits by an internal ethernet network. These subunits gather environmental information from various sensors, perform preliminary calculations and assist in the communication with the surface. Thus, every AOI can be assigned to sensor readings of the ambient environmental parameters within a time frame of one second. The communication between surface and the underwater unit is achieved by an internet protocol signal (TCP/IP) modulated onto the power supply. A new multi frequency modem enables the use on ships with cables bearing just two-conductors for connection and operates over more than 8 km of copper coax cable. Thus, the gear can even be operated on unmanned platforms, while configuration and data access is accomplished by a remote operator via internet. Several modules have been devised to facilitate bulk classification. The challenge is the identification of common discriminating parameters for objects imaged in any spatial orientation. Therefore, higher statistical moments, as well as texture information on the images are extracted. A competitive approach of a mixed model environment (including Linear Discriminant Analysis, Support Vector Machines, Self Organising Maps and others) in the open source R software www.r-project.org allows automated classification. Results can be reimported into the LOKI-Browser and aligned with the manual classification to find the best discriminating setups for different classes of species and particles.

Benchtop LOKI

Based on the experience with the field device a bench- top system was developed. It scans live zooplankton net samples aboard or preserved samples in the laboratory. The sampling volume is imaged in a flow cell, giving the system the name Flow-cell-LOKI (FLOKI). A fluid circulation system, controlled by hydrostatic pressure and pumps, allows to process samples and to filter objects from the rinsing solvent into a sampling reservoir (Fig. 4). The system has been successfully tested under field conditions during an expedition with the research vessel Polarstern in 2007. Conditions can be adjusted prior to analysis and modified if necessary to obtain brighter and better illuminated images than with LOKI (Fig. 5). Thus, they are more appropriate for taxonomic identification, but in return lack information about the original ordination among two objects in their natural environment.

Processing and outlook

To handle the enormous number of images and environmental data an upgradable SQL database was designed. An interface is provided by the interactive LOKI-Browser that allows accessing the data backend and enables investigators to make specific enquiries. It allows exploring the distribution of species and other objects considering the assigned readings. A drag and drop function allows an easy manual classification of images on the monitor. The underlaying classification tree can be retroactively enhanced or modified without losing existing allocations.

Further information

Additional project information, concept and ideas: http://www.awi.de/en/research/research_programme/topic_co/co4_observation_and_information_for_coastal_management/

Remote sensing of zooplankton and background information: www.code10.info

Hard and software development: iSiTEC GmbH, Stresemannstraße 46, 27570 Bremerhaven, Germany: www.isitec.de Image recording and processing: Medea AV, Am Weichselgarten 23, 91058 Erlangen, Germany: www.medea-av.de

Funding

This joint project was funded by the Bremerhavener Gesellschaft für Investitionsförderung und Stadtent-wicklung mbH (BIS 56008/2-Z and BIS 68036/2-Z), cofinanced by the European Community.
  1. Schulz, J., Möllmann, C. & Hirche, H.J. (2007). Vertical zonation of the zooplankton community in the central Baltic Sea in relation to hydrographic stratification. Journal of Marine Systems, 67, 47-58.
  2. Wiebe, P.H. & Benfield, M.C. (2003). From the Hensen net towards 4D-biological oceanography. Progress in Oceanography, 56, 7-136.